Гасители вибрации ГВ
Бренд:
АО "ЭССП"
В наличии
ГВ-4433-02
цена по запросу
Заказать товар
Задать вопрос
Задать вопрос
Наша организация работает только с юридическими лицами, с НДС
гаситель вибрации ГВ-4433-02
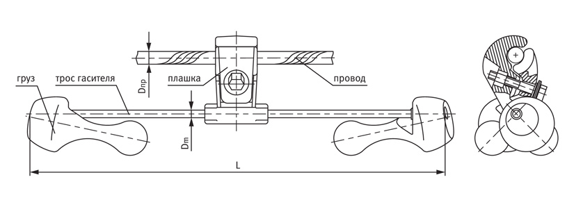
Многочастотные гасители вибрации ГВ-4433-02 предназначены для защиты неизолированных проводов и молниезащитных тросов воздушных линий электропередачи, а также самонесущих волоконно-оптических кабелей связи, подвешиваемых на опорах ВЛ.- корпус гасителя вибрации выполнен литьем, прижимная плашка из прессованного профиля, демпферный трос в нижней части корпуса надежно закреплен опрессованием;
- демпферный трос с высокой способностью к энергопоглощению;
- грузы, закрепленные опрессованием на демпферном тросе, представляют собой тела вращения, имеющие наклон к оси троса. За счет возбуждения не только изгибных, но и крутильно-изгибных колебаний при вибрации, характеристика энергопоглощения оказывается более равномерной и значительно расширяет частотный диапазон виброзащиты, чем для обычного гасителя Стокбриджа;
- крепление корпуса гасителя к проводу имеет вид крюка для увеличения угла охвата и осуществляется болтом с мелкой резьбой и двумя пружинными шайбами для исключения самоотвинчивания.
маркообразование гасителей вибрации типа гв
- ГВ – гаситель вибрации многочастотный;
- 4 – масса каждого груза 1,6 кг.;
- 4 – длина гасителя 400 мм.;
- 3 – диаметр троса 11,0 мм.;
- 3 – емкость плашки 15,2-22,5 мм.;
- 02 – модификация гасителя указывающая производителя;
- М – обозначает исполнение плашки из профиля, отсутствие буквы обозначает литую плашку;
ГВ-4433-02 вес
Вес гасителя 3,5 кг.
Компания ООО "Спектрум Групп" является официальным партнером завода изготовителя гасителей вибрации марки ГВ и активным инициатором по продвижению и внедрению данной марки в проектную документацию.
Если вам нужна помощь в подборе гасителей вибрации или схема расстановки, обращайтесь по телефону в Москве 8 (495) 772-06-66
Если вам нужна помощь в подборе гасителей вибрации или схема расстановки, обращайтесь по телефону в Москве 8 (495) 772-06-66
Нашей компанией проводится аналитический анализ поставленной продукции и проверка правильности подбора марок указанных в проектной документации. Для заказа гасителей вибрации марки ГВ требуется сообщить титул линии на которую планируется поставка. Сбор информации несет исключительно информационный характер.
Задать вопрос
Оформите заявку на сайте, мы свяжемся с вами в ближайшее время и ответим на все интересующие вопросы.
Заявки принимаются так же по электронной почте info@lep-snab.ru
Заявки принимаются так же по электронной почте info@lep-snab.ru
Характеристики
| Цена | цена по запросу |
| Бренд | АО "ЭССП" |
