Зажимы ответвительные болтовые
Под заказ
ЖОС-102-32
цена по запросу
Заказать товар
Задать вопрос
Задать вопрос
Наша организация работает только с юридическими лицами, с НДС
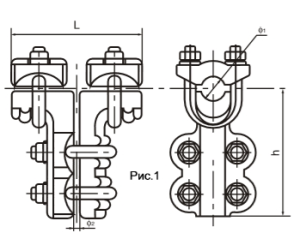
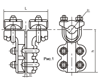
Зажим Т-образный болтовой для одного провода ЖОС-102-32
Зажим применяется для ответвительного присоединения к шинопроводу магистрали без прессовки и разрезания магистрального провода.Соединение болтовое.
|
Марка арматуры |
Диаметр проводов, мм |
Разме |
ры, мм |
Рис № |
Вес, кг |
|
|
d1 |
d2 |
L |
h |
|||
|
ЖОС-102-32 |
14.0-16.72 |
10.65-13.68 |
120 |
117 |
1 |
1,1 |
Задать вопрос
Оформите заявку на сайте, мы свяжемся с вами в ближайшее время и ответим на все интересующие вопросы.
Заявки принимаются так же по электронной почте info@lep-snab.ru
Заявки принимаются так же по электронной почте info@lep-snab.ru
Характеристики
| Цена | цена по запросу |
