Зажимы ответвительные болтовые
Под заказ
ЖОС-102-21
цена по запросу
Заказать товар
Задать вопрос
Задать вопрос
Наша организация работает только с юридическими лицами, с НДС
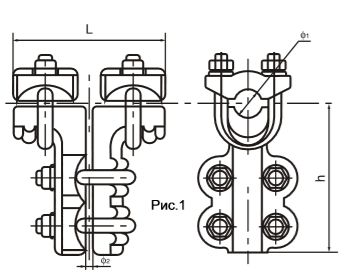
Зажим Т-образный болтовой для одного провода ЖОС-102-21
Зажим применяется для ответвительного присоединения к шинопроводу магистрали без прессовки и разрезания магистрального провода.Соединение болтовое.
|
Марка арматуры |
Диаметр проводов, мм |
Разме |
ры, мм |
Рис № |
Вес, кг |
|
|
d1 |
d2 |
L |
h |
|||
|
ЖОС-102-21 |
10.65-13.68 |
7.5-96 |
118 |
103 |
1 |
0,8 |
Задать вопрос
Оформите заявку на сайте, мы свяжемся с вами в ближайшее время и ответим на все интересующие вопросы.
Заявки принимаются так же по электронной почте info@lep-snab.ru
Заявки принимаются так же по электронной почте info@lep-snab.ru
Характеристики
| Цена | цена по запросу |
